US valve阀门产品
US valve Products

首页d5US valve阀门产品d517型止回阀
US Valve是新泽西州的一家公司,总部位于新泽西州,生产基地位于美国马里兰州、欧洲和亚洲。我们的主要关注点是止回阀,我们的根基是低压降设计。我们的应用工程师可以帮助您为您的应用选择正确的阀门。
US valve及TECHNO阀门系列
17型止回阀
 
 
17型止回阀
D4 设计特点

 

17型止回阀与传统止回阀相比,法兰式全流道阀提供更多的流量和更低的压降。我们的弹性铰链止回阀设计通过消除限制性阀座,大幅增加阀门的开放面积和流量系数(Cv),将性能提升到一个全新的水平。这些法兰止回阀非常适用于真空泵、压缩空气和气体系统,以及需要低水头损失和消除水锤的水系统。

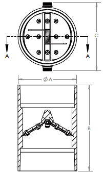
D4 17型止回阀尺寸表
USVALVE012 usvalve-020
D4 阀门选型参数
usvalve-021
类型
代号 描述
17 标准阀体
阀体/阀内材质
代号 描述
0
1 碳钢
2 铸铁
3
4 不锈钢
可选弹簧
代号 描述
SP 316不锈钢标准扭矩
SL 316不锈钢低扭矩
SH 316不锈钢重扭矩
可选弹簧
代号 描述 温度
B 丁腈橡胶 -60° F 至 225° F
E 三元乙丙橡胶 -40° F 至 300° F
V 氟橡胶 -20° F 至 450° F
S 硅胶 -100° F 至 500° F
T 特氟龙 -20° F 至 450° F
标准选型和材料
选型 阀体 阀板 阀板支撑 MAWP*
17-1-4 SP 碳钢 ASTM A106 Gr.B 316SS ASTM A240 316SS ASTM A276 450 PSI
17-4-4 SP 不锈钢 ASTM A312 Gr.316 316SS ASTM A240 316SS ASTM A276 450 PSI
所有紧固件和弹簧销均为316不锈钢。丁腈橡胶是所有阀门的标准密封件。
可选密封材料:三元乙丙橡胶,硅胶,氟橡胶。316不锈钢弹簧适用于所有型号。如需任何其他特殊材料要求,请咨询工厂。
*MAWP-60°F时的最大允许工作压力。
 
 
  地址:上海市宝山区电台路568弄6号302室 86 13661700928 工作时间:09:00—17:30 zht2002cn@126.com
版权所有: 上海海途贸易有限公司 Copyright © 2012 haitu-sh.cn all rights reserved. 沪ICP备12021448号-1